需要指出的是,专利方案是否和最终伯特利量产方案一致存在不确定性,仅供参考。
1.EMB发展现状
机械式线控制动系统(Electro-Mechanical Brake, EMB)作为完全线控制动产品的典型产品,相比线控制动系统(Electro-Hydraulic Brake, EHB)系统取消液压部件和机械备份,实现了完全电控化,具有结构简单、响应快、控制精准等优势,同时配合整车架构向域融合的升级趋势,被认为是制动系统的未来发展方向。

EMB系统架构示意图,图片来自佐思汽车研究
http://www.evinchina.com/newsshow-38.html
虽然对EMB的研究最早可以追溯到20世纪90年代,但是受制于种种因素,距离量产一直有很大差距,比如:
EMB相比EHB显著增加了控制器数量,成本高
EMB执行电机与控制单元总成均在轮端,制动时产生很高温度,对系统的抗高温和散热性要求很高
轮端应用场景恶劣,需要EMB轮端总成有很好的抗震性、防水防尘性以及防止颗粒物入侵
国内外制动法规不支持取消机械备份的完全线控制动
首先从法规层面,欧盟乘用车制动法规ECE R13-H正在修订之中,将加入对完全线控制动系统ETBS(Electrical Transmission Braking System)的相关要求,并计划在2025年年底前释放。在中国,包含了对ETBS要求的乘用车制动法规GB 21670也在修订之中,结合目前最新消息,新版GB 21670有望在2026年发布。

截图来自 https://unece.org/
其次,经过多年的技术积累,EMB在技术层面的局限正在被突破,国内外越来越多的玩家正在积极布局,而且在媒体上频繁看到国内外EMB玩家更新最新研究动态,不少玩家正进入量产前的验证冲刺阶段。


信息来自长城证券整理
2. 伯特利EMB方案介绍
在众多玩家中,中国本土供应商伯特利作为国内线控制动领跑者,近期在EMB上举动频繁,一方面EMB首轮功能样件已经顺利验证完成,另一方面正在加码投资EMB新产能。

截图来自伯特利官网
本文基于公开专利信息,简单了解伯特利EMB方案的信息。需要指出的是,专利方案是否和最终伯特利量产方案一致存在不确定性。
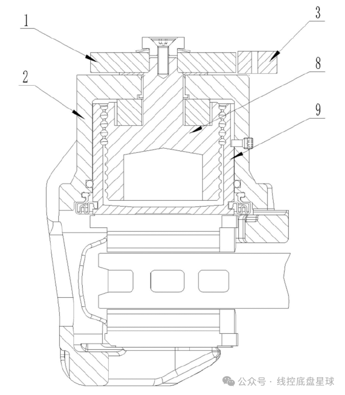
在专利号202211013207.3中描述了EMB方案的制动力传输链路以及驻车机构。结合下图部件说明分别对制动力传输链路和驻车机构进行解释。

制动力由第一电机驱动,传输链路的传动机构采取两级设计,第一级通过齿轮实现减速增扭,第二级采用滚珠丝杠设计,实现减速增扭的同时将驱动电机的回转运动转化为卡钳轴端直线运动,从而实现卡钳力的加紧产生制动力。当需要撤销制动力时,电机停止转动,卡钳在机械作用下回退从而释放卡钳力。

截图来自专利号202211013207.3
驻车锁止机构由第二电机驱动,传动机构采取蜗轮蜗杆设计。如下图所示,第二电机6连接的蜗杆4和与蜗杆4相啮合的蜗轮5,蜗轮5与动力输出部件3为同轴固定连接,蜗轮5与动力输出部件3连接形成双联齿轮,蜗轮5与动力输出部件3同步转动,在第二电机6运转后,蜗杆4带动蜗轮5转动,蜗轮5可以带动动力输出部件3进行360度转动。

截图来自专利号202211013207.3
车辆驻车时,第一电机运转,动力传递至传动齿轮1后,驱动传动齿轮1沿第一方向转动,传动齿轮1带动运动转换机构进行相应动作,使制动卡钳进行夹紧动作,达到预定驻车夹紧力时,第二电机6驱动第三传动机构运转,第三传动机构带动自锁传动机构运转,自锁传动机构的丝杠轴12带动动力输出部件3进行直线移动。当动力输出部件3移动设定距离后,动力输出部件3与传动齿轮1啮合,动力输出部件3停止转动。第二电机6断电后停止运转,动力输出部件3与传动齿轮1相啮合,第二传动机构具备自锁功能,传动齿轮1被锁止,运动转换机构不能运转,实现驻车锁止功能。

截图来自专利号202211013207.3
如果第一电机或者控制第一电机的电路出现失效,由于传动系统自身的转动阻力,制动盘与制动片之间不能自行释放或完全释放,导致制动卡钳一直处于夹紧状态。此时,启动锁止机构的第二电机6,第二电机6驱动第三传动机构运转,第三传动机构带动自锁传动机构运转,自锁传动机构的丝杠轴12带动动力输出部件3进行直线移动。当动力输出部件3与传动齿轮1啮合后,动力输出部件3带动传动齿轮1沿第二方向转动,传动齿轮1带动运动转换机构进行相应动作,使制动卡钳进行释放动作,消除夹紧力。
综上,该设计可以在实现可靠锁止的同时,当出现卡钳制动电机或者控制电路故障时主动释放制动盘,从而消除残余夹紧力,避免潜在的风险。
文章转载自公众号:线控底盘星球
作者:车底的阿杜
原文链接:https://mp.weixin.qq.com/s/mmNzdRnkP-bmD-nIgDAbww
