联合国欧洲经济委员会(UNECE)的R46法规《关于批准间接视野装置和机动车安装这些装置的统一规定》,针对M类、N类及车身有封闭的L1类车辆的间接视野装置(内后视镜、外后视镜、电子后视镜等)的要求进行了详细规定。
间接视野装置分为七类分别是:
I类“后视装置”(内后视镜):

II类“主后视装置”(外后视镜):

III类“主后视装置”(外后视镜):

IV类“广角视野装置”:

V类“近距离视野装置”:


VI类“前视装置”:

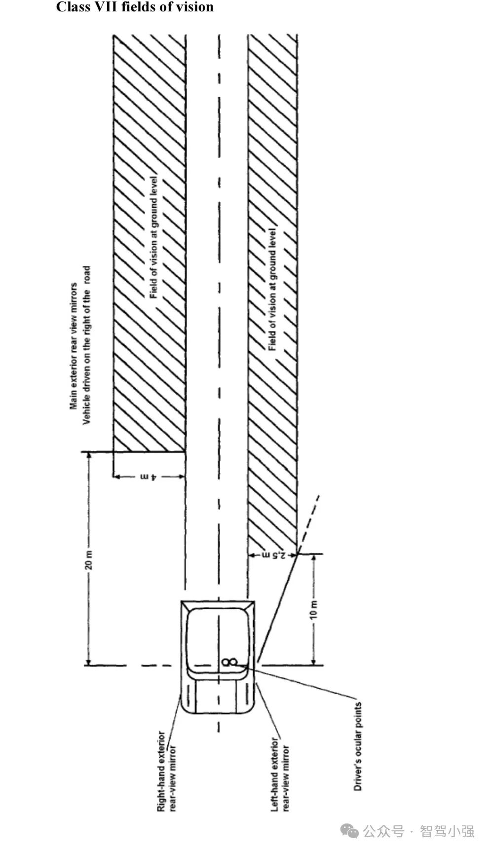
VII类“L类车辆的主后视装置”:

R46对电子后视镜CMS(Camera Monitor System)的要求进行了详细规定,以确保其安全性和功能性等同于或优于传统光学后视镜。以下是R46对CMS的核心要求总结:
1. 一般要求
如果需要用户调节,间接视野装置应无需使用工具即可调节。
电子后视镜CMS应具备较好的实时性,在22±5℃的室温下,扫描、渲染和重置到初始位置的整个过程应≤200ms,避免因滞后影响驾驶判断。
安装在车内的CMS及其部件应满足内凸出物的尺寸和倒角要求;安装在车外的CMS及其部件应满足外凸出物的尺寸和倒角要求。
电子后视镜CMS的有效性不应受到磁场或电场的不利影响,这应通过符合UNECE R10的04及后续版本来证明。
R10-EMC更多信息,详见前文:
2. 视野范围(Field of View)
CMS必须提供与传统后视镜相同或更优的视野覆盖,包括后视野、主后视野和广角扩展区域等。
摄像头和显示器的组合需确保驾驶员能清晰观察车辆后方及两侧的交通情况,覆盖UNECE R46规定的标准视野范围。
摄像头和显示器的组合需确保驾驶员能清晰观察车辆后方及两侧的交通情况,覆盖UNECE R46规定的标准视野范围。

3. 图像显示与响应时间
摄像头帧率要求:摄像机前物体的移动应流畅流畅。系统的最低帧率(图像信息的更新率) 应至少为30Hz。在低光条件下或低速行驶时,系统的最低帧率(即图像信息的更新率) 应至少为15Hz。
更多法规对摄像头帧率的要求,详见前文:
系统实时性:在22±5°C的温度下,监视器的成像时间应小于55 ms。CMS应具有足够短的延迟,以几乎同时渲染图像。在室温22±5°C下,延迟应低于200ms。
分辨率与清晰度:显示器分辨率需足够高,确保能辨识后方车辆车牌、行人等关键细节。
图像质量:需减少畸变、眩光和伪影,色彩还原需真实,避免误导驾驶员。
4. 亮度和对比度调节
系统需根据环境光照(如夜间或强光)支持手动或自动调整亮度和对比度,确保图像始终可见。
系统需根据环境光照(如夜间或强光)支持手动或自动调整亮度和对比度,确保图像始终可见。
显示屏应在ISO 15008:2003规定的各种光线下呈现最小对比度。
显示屏亮度对比度的测量应按照ISO 15008:2009进行。
CMS应具备防眩光功能,在强光(如后车远光灯)下,需具备动态调节能力,防止图像过曝。
CMS应具备防眩光功能,在强光(如后车远光灯)下,需具备动态调节能力,防止图像过曝。

5. 系统可靠性与环境耐受性
耐久性测试:需通过防水(IP等级)、防尘、抗震、冲击、高低温等车规级测试,确保极端条件下正常工作。
耐久性测试:需通过防水(IP等级)、防尘、抗震、冲击、高低温等车规级测试,确保极端条件下正常工作。
外壳防护等级IPXX更多信息,详见前文:
抗干扰能力:需符合电磁兼容性(EMC)标准,避免受其他电子设备干扰。
电磁兼容性更多信息,详见前文:
6. 故障监测与提示
车辆启动时应自动检测CMS状态,异常时立即警示驾驶员。若摄像头或显示器故障,需通过视觉/听觉信号提示,
并提供备用方案(如冗余摄像头)
。

7. 安装与人体工程学
摄像头位置需符合空气动力学设计,减少突出车身部分,避免碰撞风险。
车内屏幕需位于驾驶员自然视线范围内,避免大幅改变驾驶习惯。
内外部器件还需满足内外凸出物的尺寸和倒角要求。
摄像头位置需符合空气动力学设计,减少突出车身部分,避免碰撞风险。
车内屏幕需位于驾驶员自然视线范围内,避免大幅改变驾驶习惯。
内外部器件还需满足内外凸出物的尺寸和倒角要求。
8. 附加功能要求
摄像头需设计防污结构或配备自动清洁装置(如喷水器),确保恶劣天气下可用。
低光照环境下,需通过增强算法或红外技术保证图像清晰度。
CMS需通过UNECE指定的实验室测试,包括功能测试、环境模拟和长期可靠性验证。制造商需提交技术文档,证明符合R46所有条款,方可获得认证。
欧盟、日本、香港、台湾等地区,若想售卖电子后视镜CMS,均需要满足R46法规的要求。
摄像头需设计防污结构或配备自动清洁装置(如喷水器),确保恶劣天气下可用。
低光照环境下,需通过增强算法或红外技术保证图像清晰度。
CMS需通过UNECE指定的实验室测试,包括功能测试、环境模拟和长期可靠性验证。制造商需提交技术文档,证明符合R46所有条款,方可获得认证。
欧盟、日本、香港、台湾等地区,若想售卖电子后视镜CMS,均需要满足R46法规的要求。
